DLPC964数字微镜器件控制器:特性、应用与设计要点解析
在电子工程领域,数字微镜器件(DMD)控制器的性能对于众多应用的实现起着关键作用。今天,我们将深入探讨DLPC964数字微镜器件控制器,详细解析其特性、应用场景以及设计过程中的要点。
文件下载:dlpc964.pdf
一、DLPC964特性概述

DLPC964控制器可与DLP991U数字微镜器件(DMD)完美配合,为DMD提供高速数据和控制接口,实现高达12.4kHz的二进制图形速率。这一特性使得DLP技术在空间光调制器领域脱颖而出,满足了设备对快速、精确和可编程光源控制功能的需求。
1. 高速数据传输
DLPC964在高达120Gbps的12个HSS输入通道上连续流式传输输入数据,支持每秒高达12.4kHz二进制图形的高速图形速率。其32通道差分高速串行接口(HSSI)数据总线接口,为数据的快速稳定传输提供了保障。
2. 数字图像处理
从DLPC964输入端口到被投影图像的图像数据是100%数字化的数据,图像始终保持数字格式,不会转换为模拟信号。DLPC964会处理数字输入图像并将数据转换为DMD所需的图像格式,确保图像的正确显示。
3. 独特功能与价值
该控制器具备随机DMD块寻址和LOAD2加载功能,与多种用户定义的FPGA兼容,还提供用于控制和状态查询的I2C接口。这些功能使得DLPC964非常适合为各种直接成像、工业和高级显示应用提供支持。
二、DLPC964应用场景
1. 平版印刷与直接成像
在印刷电路板制造等领域,DLPC964可实现直接成像,无需使用掩模,能够在不停止成像头的情况下更改以数字方式创建的图案,提供连续的打印,提高生产效率。
2. 工业应用
- 3D打印:DLPC964与DLP991U DMD配合,为3D打印提供了高分辨率和高速的成像支持,有助于提高打印质量和速度。
- 机器视觉:在用于机器视觉的3D扫描仪中,DLPC964可实现精确的3D成像,为质量控制提供准确的数据。
- 显示与增强现实:在3D成像、增强现实和信息覆盖等显示应用中,DLPC964能够提供高质量的图像显示效果。
三、DLPC964详细说明
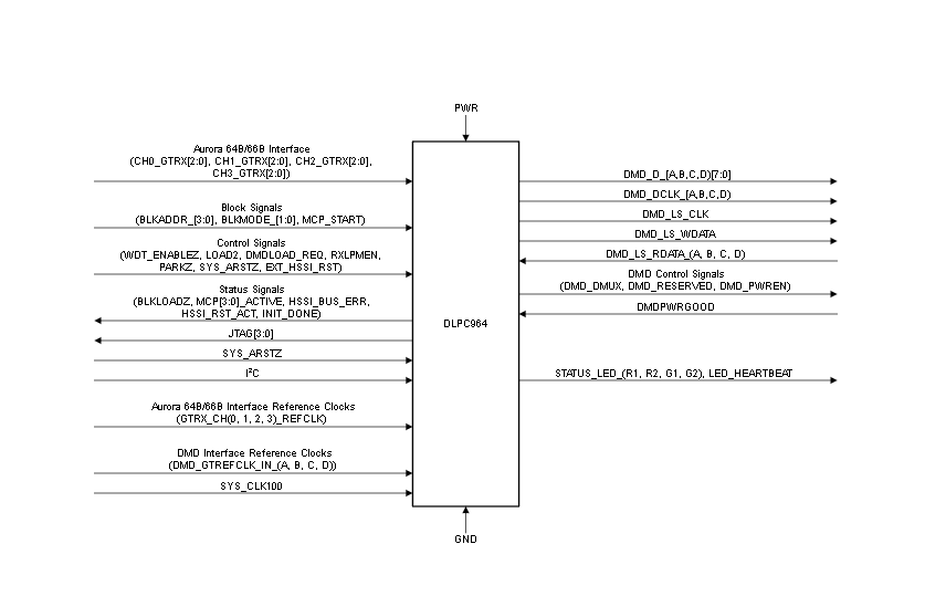
1. 引脚配置和功能
DLPC964采用ZUM1156A封装,具有多种I/O类型,包括电源(PWR)、接地(GND)、LVCMOS18I、LVCMOS18_O等。每个引脚都有其特定的功能,如SYS_ARSTZ用于DLPC964复位,I2C_ADDR_SEL[0]和I2C_ADDR_SEL[1]用于选择DLPC964从器件I2C地址等。在设计过程中,需要根据具体应用需求合理连接这些引脚。
2. 规格参数
- 绝对最大额定值:包括各种电源电压的最小值和最大值,如VCCINT的范围为 -0.5V至1.1V等。超出这些额定值运行可能会对器件造成永久损坏。
- ESD等级:人体放电模型(HBM)为 +2500V,充电器件模型(CDM)为 ±1500V,在使用过程中需要注意静电防护。
- 建议运行条件:包括输入输出电压、环境温度等参数,如工作环境温度范围为0°C至85°C,持续总功率耗散不超过18W。
3. 详细功能特性
- 输入高速串行(HSS)接口:基于AMD LogiCORETM IP Aurora 64B/66B内核,包含四条输入数据总线和相应的时钟,为数据输入提供了高速稳定的通道。
- 块接口:通过BLKADDR_[3:0]和BLKMODE[1:0]信号指定要向哪个(些)DMD块发出微镜时钟脉冲(MCP)、块清除或块置位。
- 控制接口:
四、应用和实施要点
1. 应用信息
DLPC964控制器验证DMD是否已连接,选择适当的配置数据并初始化DMD。它从外部应用处理器接收流式输入数据,并将数据传递到DMD,同时接收嵌入式指令确定要加载的DMD行和激活的微镜块。
2. 典型应用设计
在高速直接成像应用中,DLPC964与DLP991U DMD组成的芯片组可实现高于110千兆位/秒(Gbps)的速度和[4096 × 2176]的分辨率。设计时需要注意各接口和总线的连接,如高速串行(HSS)差分输入、高速串行接口(HSSI)差分输出等。
3. 连接到DLPC964控制器高速串行(HSS)Aurora 64B/66B输入
数据传输通过十二条高速串行(HSS)Aurora 64B/66B数据链路执行,每条链路运行速率为10Gbps。APPS FPGA和DLPC964之间的数据传输需要遵循特定的规则,如块以块控制字开始,以DMDLOAD_REQ完成,并且要满足300ns的DMDLOAD_REQ建立时间。
4. 电源相关建议
- 电源分配和要求:通过特定的配电方式为DLPC964和DLP991U DMD供电,确保电源的稳定供应。
- 断电要求:在预期断电之前,需要按照特定的序列执行DMD的断电操作,如将PARKZ信号置为低电平并保持至少500μs等。如果出现意外功率损耗,电源管理系统需要采取相应措施确保DLPC964完成DMD的断电过程。
5. 布局要点
- PCB设计标准:PCB的设计和制造应符合工业规范,如IPC-2221和IPC2222类型3、X类、B级可生产性等。单端信号阻抗为50Ω ±10%,差分信号阻抗为100Ω ±10%。
- 信号层:遵循典型的良好做法指南,如减少单端信号层更改、优先处理差分对信号等。10Gbps Aurora 64B/66B差分信号应采用背钻过孔,提高信号完整性。
- 电源和接地平面:每个信号布线层之间设置实心接地平面,电压设置实心电源平面,通过过孔将电源和接地引脚连接到这些平面,减小元件电源和接地引脚的布线长度。
- 去耦:去耦电容器应尽可能靠近DLPC964电压电源引脚放置,避免共用过孔。
五、总结
DLPC964数字微镜器件控制器以其高速数据传输、数字图像处理等特性,在平版印刷、工业3D打印、机器视觉等多个领域具有广泛的应用前景。在设计过程中,需要充分了解其引脚配置、规格参数、功能特性以及应用和实施要点,合理进行电路设计和布局,以确保系统的稳定运行和高性能表现。同时,要注意遵循相关的安全和规范要求,保障设计的可靠性和安全性。希望本文能为电子工程师在使用DLPC964进行设计时提供有益的参考。你在实际应用中遇到过哪些与DLPC964相关的问题呢?欢迎在评论区分享交流。
-
应用设计
+关注
关注
0文章
12浏览量
8620
发布评论请先 登录

DLPC964数字微镜器件控制器:特性、应用与设计要点解析
评论