在便携和可穿戴式设备应用的驱动下,很多设计正在朝着 3.6 伏或更低供电电压的方向发展。但是,很多便携式设备的某些功能又需要更高的电压,这就要求设计人员通过以最佳方式实施的 DC-DC 升压转换器,尽可能高效地向上转换到所需的电压。
本文将回顾 DC-DC 升压稳压器的用途,并介绍它们的拓扑。随后,本文还将介绍一些实例器件,讨论为便携式设备和可穿戴式设备应用开发最佳设计所需的设计技术和考量。
DC-DC 升压转换器的作用
典型的可穿戴式设备或便携式设备使用了锂离子电池,标称输出为 3.6 伏直流电。大多数电池供电的应用都依赖于一个或多个串联的锂离子电池来提供主供电电压。虽然这足以满足大多数应用的需求,但笔记本电脑、平板电脑和其他移动设备具有的一些特定功能需要更高的电压。
这样的例子包括白光发光二极管 (LED) 背光驱动、射频收发器、精密模拟电路,以及光接收器中的雪崩光电二极管 (APD) 的偏置电路。升压 DC-DC 稳压器可将低输入电压转换为高输出电压,从而满足这些应用需求。
典型升压转换器拓扑
升压稳压器的关键元器件包括:电感器;半导体开关,通常为功率 MOSFET;整流器二极管;集成电路 (IC) 控制块;输入和输出电容器(图 1)。

图 1: 基本升压稳压器配置,显示当开关打开和关闭时的电流方向(图片来源: Digi-Key Electronics,基于 Texas Instruments 提供的原始资料)
当施加 VIN 电压且电源开关关闭时,电流沿着蓝色路径,通过电感器流到地。电感器将电能存储在其磁场中。二极管反向偏置,随着其存储的电能供应给负载,输出电容器两端的电压降低。
相反,当电源开关打开时,电流沿着红色路径流动,因为崩溃的磁场产生正电压,并通过正向偏置的二极管传输电感器电能,为输出电容器充电并供应给负载。
通过改变电源开关的占空比,控制块保持恒定的输出电压,以响应输入电压变化和负载变化。输出端的电阻分压器可为控制块提供电压反馈,以便调节占空比并保持所需的输出电压值。
除了这些基本功能之外,集成式设计还包括可选的保护功能,针对超温、输出短路、开路负载条件和输入过流等情况提供保护。
对基本电路的常见改进是使用第二个 MOSFET 替换二极管。第二个 MOSFET 充当同步整流器,在电源开关关闭时打开。其较低的电压降减少了功率耗散,同时提高了稳压器的效率。
在电池供电的设备中,更高的效率就等于更长的电池寿命,因而同步设计是一大优势。此外,便携式设备和可穿戴设备通常在空间上受到限制,因此面向这些应用的升压转换器具有很高的集成度。将电源元器件包括在封装中,将会限制其供流能力,但在电池供电设备的设计中,这个缺点是可以接受的。很多此类应用长时间处于关断模式,因而超低的静态电流消耗变得至关重要。
Texas Instruments 提供的 TPS610993YFFT 就是低功耗升压稳压器的一个例子(图 2)。这是一种同步器件,其静态电流仅1µA,但能提供高达 800 毫安 (mA) 的电流,并在低至 0.7 伏特的输入电压下产生 3.0 伏特的输出电压。该器件的设计目的是在轻负载条件下最大程度地提高工作效率。它可与碱性电池或充电电池(例如 NiMH 电池或锂离子电池)配合使用。

图 2: TPS61099x 系列能够从 0.7 伏特的输入电压提供高达 5.5 伏特的输出电压。(图片来源:Texas Instruments)
TPS610993 将电源开关和同步整流器集成到 6 焊球的晶圆级芯片尺寸封装 (WCSP) 中,尺寸仅为 1.23 毫米 x 0.88 毫米。由于尺寸小巧,它非常适用于光学心率监测仪、存储器液晶显示屏 (LCD) 偏置驱动器,以及类似的空间受限的应用。该器件是 TPS61099x 系列产品的成员,输出电压在 1.8 伏特至 5.5 伏特之间。
在为智能手机摄像头闪光灯或电池供电的 LED 灯产生更高的电压方面,Microchip Technology 的 MCP1665 采用了不同的方法:它集成了 36 伏特、100 毫欧 (mΩ) 的 NMOS 电源开关,但在非同步拓扑中使用了外部二极管。

图 3: Microchip 的 MCP1665 能够从锂离子、NiMH 或 NiCd 电池产生高达 32 伏的电压。(图片来源:Microchip Technology)
该器件能够从 5 伏电源提供高达 1000 毫安的电流,并具备多种特性,包括受控启动电压、工作模式选择、500 千赫兹 (kHz) 的开关频率;峰值电流模式架构可在广泛负载范围内实现高效率。
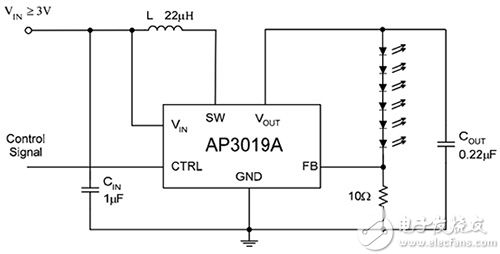
在一些升压应用中,将输出电压维持在设定值并非主要设计目标。在 LED 背光驱动中,所需的 LED 亮度是通过 LED 灯串的电流的函数,因此,流经分流电阻器的电流形成了控制器的反馈电压,并决定了升压电压。Diodes Incorporated 供应的 AP3019AKTR-G1 是经过优化的升压转换器的一个例子,适合在背光应用中驱动最多 8 个 LED 的灯串(图 4)。

图 4: AP3019A 驱动器的典型开关频率为 1.2 MHz,包括可控制 LED 背光灯串亮度的专门功能。(图片来源: Diodes Incorporated)
该器件专门针对空间受限的应用进行了优化,内部包括电源开关和二极管,开关频率为 1.2 MHz,允许使用微型外部元器件。AP3019A 采用 SOT-23-6 封装,能够提供高达 550 mA 的电流。
CTRL 引脚是专用的关断和调光输入:将该引脚连接到 1.8 伏或更高的电压可启用器件;连接到 0.5 伏或更低的电压可禁用器件;应用脉冲宽度调制 (PWM) 信号可实现 LED 亮度控制。
采用以下设计技巧来优化效率
在已经讨论的一些器件中,制造商已在内部固定了一些参数,但设计人员通常还要在几个方面进行取舍,以优化转换效率。此外,他们还必须根据适用的指导准则,慎重地选择正确的外部元器件。
开关频率: 虽然开关频率不会直接影响输出电压,但它会对电源设计产生很大影响。一般来说,对于特定应用,在开关频率更高的情况下,设计人员能够使用更小的电感器和电容器。电感器尺寸主要取决于允许的纹波电流大小。对于特定的电感,随着开关频率提高,纹波电流减小:假定有多种器件可选,设计人员可在较高的开关频率和较小的电感器之间达到平衡,同时保持相同大小的纹波电流。
较高的工作频率可为开关稳压器提供更大的带宽,缩短瞬态响应时间。较小的电感器还可减少电源的尺寸和成本。
电感器选择: 电感器是升压转换器的一个关键元件:能在电源开关接通期间存储能量,并在关断期间将存储的能量通过输出整流二极管传输至输出。
设计人员必须在低电感器电流纹波与高效率之间达到平衡。对于给定的物理尺寸,电感较低的电感器会拥有较高的饱和电流和较低的串联电阻,但较低电感会导致更高的峰值电流,进而使能效降低,纹波增大和噪声提高。
在选择合适的电感器时,电感器的额定饱和电流必须大于电感器峰值电流,电感器的 RMS 额定电流必须大于稳压器的最大直流输入电流。
大多数升压稳压器的规格书都包括了针对不同负载电流和电压的建议:我们上文介绍的来自 Microchip 的 MCP1665 的规格书建议,对于 15 伏以下的输出电压,使用 Panasonic Electronic Components 的 ELL-8TP4R7NB 4.7 微亨 (µH) 电感器;对于更高的输出电压,使用 Wurth Electronics 的 7447714100 10 µH 电感器。
二极管选择
在非同步设计中,应该使用正向电压较低的肖特基二极管来减少损耗。二极管的平均正向额定电流必须等于或高于最大输出电流。二极管的重复峰值正向额定电流必须等于或高于电感器峰值电流,二极管的反向击穿电压必须高于内部电源开关额定电压。
例如,MCP1665 带有 36 伏特的内部开关,能够提供高达 1 安培的电流。因此,Microchip 建议使用 STMicroelectronics 供应的 STPS2L40VU 肖特基二极管,该器件的反向击穿电压为 40 伏特,正向电流为 2 安培。
在高温下,二极管的漏电电流也可能对转换器的工作效率产生重大影响。对于较高的电流和环境温度,请使用具有良好热特性的二极管。
输入和输出电容器: 在升压拓扑中,电感器的作用是消除为稳压器电路供电的电源电路的瞬态需求,从而减少所需的输入滤波。X5R 等级的陶瓷电容器通常足以满足 +85°C 工作温度的需求,但对于 +125°C 的工作温度,可能需要低 ESR 的 X7R 电容器。
如果电源的阻抗过高,无法将输入电压保持在高负载阶跃下的欠压锁定阈值之上,则还可能需要其他的电解电容器或钽电容器。
在负载侧,输出电容器可减少负载纹波,帮助在负载瞬态期间提供稳定的输出电压。建议使用 X7R 陶瓷电容器作为输出电容器:其他类型的电容器可能具有较高的 ESR,会降低转换器效率。
电容器的 DC 额定值应该适当高于最大输出电压 VOUT,因为当接近最大电压时,陶瓷电容器会损失效率。有关电容器选择的建议,请查询规格书。
升压稳压器布局注意事项: 升压稳压器具有高速开关特征,因此其性能对 PCB 布局非常敏感:寄生电感和电容可能导致高输出纹波、输出稳压效果不佳、电磁干扰 (EMI) 过大,甚至因高电压尖峰而导致故障。
因此,设计人员应对 PCB 布局给予高度关注,并使用以下技巧:
-
输出电容器的位置应该靠近器件,并使用短而宽的走线进行连接,以最大程度减少可能导致电压瞬时振荡和尖峰的寄生电感。多个过孔有助于降低寄生电容。
-
放置输出电容器之后,将电感器放置在靠近 IC 的位置,以降低产生的电磁干扰。由于 SW 节点(参见图 2、3、4)存在电气噪声,因此反馈 (FB) 信号和其他敏感走线应该远离此节点。
-
输入电容器的接地节点也应该靠近 IC 电源接地引脚,以最大程度减小回路面积。
-
要达到最佳热性能,布局应该包括从器件导热垫(如适用)一直到地平面的散热过孔;这样可以改进散热,降低热关断的风险。
-
电源接地、信号接地和导热垫应该在单个低阻抗接地点连接在一起。
在线设计工具会加快设计过程
高效的电源设计要求设计人员具备多个领域的专业知识,包括元器件评估和选择、磁性元件、补偿电路设计、优化、热分析和布局等。
在认识到其中的复杂性后,多家电源半导体供应商提供了实用的在线设计工具,用于指导工程师完成所需的步骤来实现成功的设计。
Texas Instruments 提供了多种工具。例如,Power Stage Designer™ 可帮助工程师设计最常用的开关电源。对于升压转换器,我们需要选择升压、降压-升压和 SEPIC 拓扑。选择推荐的拓扑之后,程序还会帮助设计人员比较不同电源 FET 的性能、挑选大容量电容器、确定补偿网络,并且执行其他设计功能。
ADI 提供了 ADIsimPower™ 设计工具组,可帮助设计人员生成完整原理图和物料清单 (BOM),并计算电路性能。ADIsimPower 能在考虑 IC 和外部元件的工作条件和局限性的同时,在成本、板面积、能效和零件数量方面对设计进行优化。
总结
升压稳压器让我们能够使用高电压电路功能,在电池供电的便携式设备和可穿戴设备的设计中,它扮演着非常重要的角色。但是,设计人员必须选择适合所需升压应用的器件,并且注意多种关键设计权衡和最佳实践。
-
升压转换器
+关注
关注
2文章
889浏览量
36027 -
DC-DC转换器
+关注
关注
10文章
708浏览量
57849 -
可穿戴设备
+关注
关注
55文章
3863浏览量
169734
发布评论请先 登录

可穿戴设备开发最佳设计所需设计技术和考量
评论