低功耗广域网 (LPWAN) 已出现很长时间,但对物联网 (IoT) 低成本连接及功耗和成本改进的需求正引发对 LPWAN 越来越多的关注。 硅技术的改进已极大降低了功耗,可用于电池供电型无线传感器节点。 这些节点利用次 GHz 非调节式无线电频段进行长距离连接,比调节式蜂窝频带更具成本效益。
然而,推广这些 LPWAN 网络需要其自身的基础设施,后者至今仍然进展缓慢。 但如今已到了一个转折点。 使用次 GHz 频段意味着支持大量无线节点需要的基站更少。
物联网网络开发人员现有多种选择。 例如,Semtech 的 LoRa 技术可用于推出多个无线节点专用的私有 LPWAN 网络。 或者,诸如使用SIGFOX 之类的公共 LPWAN 网络,则可省去安装、连接和管理基站。 同时人们也在通过新协议(如 Weightless)开发其他 LPWAN 网络。 LPWAN 网络的选择决定了物联网节点无线收发器的选择。
LoRaWAN 是一种低功耗广域网 (LPWAN) 规范,主要用于区域性、全国性或全球性网络中的无线电池供电型节点。 LoRaWAN 网络是一个典型的星型拓扑结构,网关是一个透明的桥接,在终端设备和后台中央网络服务器之间转送讯息。 网关通过标准 IP 连接与网络服务器连接,而终端设备使用单跳无线通信连接到一个或多个网关。 所有节点的通信一般都是双向的,但网络架构还支持诸如多播等工作 形式,可以实现软件无线升级或其他大量分发讯息以减少空中通信时间。

图 1: LoRaWAN 网络包含一个从物联网节点到网关的加密路由。
节点和网关之间的通信使用扩频链接以不同的频率通道和数据速率传出去。 这样就会创建一组“虚拟”通道,数据速率在 0.3 kbps 到 50 kbps 之间。 网络服务器通过一个自适应数据速率 (ADR) 方案分别为每个节点单独管理数据速率和射频输出。
LoRaWAN 包含几种不同类型的节点。 A 类节点使用最低功率,每个上行链路传输跟随两个短的下行链路接收窗口。 节点的传输时隙是基于其自身通信需求,根据随机时基有一个小的变化(ALOHA 类型协议)。 在其他任何时间,服务器下行链路通讯必须等下一个调度的上行链路。
B 类节点使用来自网关的时间同步信标,提供额外的调度接收时隙。 这样服务器就可以知道节点何时在侦听。 C 类节点包含开放接收窗口,只在传输时关闭。
这些节点可通过 Semtech 的 SX1272/73 收发器创建。 这些收发器通过扩频协议采用长距离调制解调器,同时也提供高抗干扰能力并将电流消耗降至最低。
获得专利的调制技术使用低成本晶体和物料即可实现超过 -137 dBm 的灵敏度。 高灵敏度与集成 +20 dBm 功率放大器结合,带来的是高达 157 dB 的链路预算能力,相对传统调制技术(如 FSK 和 OOK)在阻塞和选择性方面还具有显著的优势。 使用扩频方法,不仅解决了传统设计在范围、抗干扰和能耗方面的折中问题,同时设备也支持其他系统的高性能 FSK 和 GFSK 调制,包括 WMBus 和 IEEE802.15.4g。

图 2: SX1272 可用于创建 LoRaWAN 低功耗长距离网络的节点。
SX1272 提供 125 kHz、250 kHz 和 500 kHz 三个通道宽度选项,扩频因子范围在 6 到 12 之间。 SX1273 提供同样的带宽选项,但扩频因子范围为 6 到 9 之间。 为实现最佳的灵活性,用户可能需要考虑扩频调制带宽 (BW)、扩频因子 (SF) 以及误差校正率 (CR)。
另一种 LPWAN 网络由法国网络运营商 SIGFOX 及其合作伙伴运营。
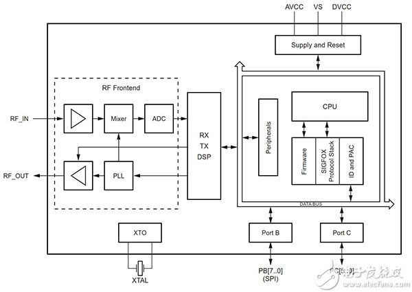
多个设备可用来实现节点。 例如,Microchip 的 ATA8520D 就是一种带集成 AVR 微控制器的高度集成式、低功耗射频收发器。 该设备分为三个部分:一个射频前端、一个数字基带和一个低功耗 8 位 AVR 微控制器(为 868.0 MHz 到 868.6 MHz 和 869.4 到 869.65 MHz 频带提供连接)。 SPI 接口可进行外部控制和设备配置。

图 3: ATA8520 使用 SPI 接口连接传感器节点到 SIGFOX 长距离网络。
同样,ON Semiconductor 的 AX−SIGFOX 开发套件也是一个超低功耗单芯片解决方案,用于 SIGFOX 网络上带上行链路和下行链路功能的节点。 AX−SIGFOX 芯片完全可直接用于运营,同时还包含了传输和接收欧洲网络数据的全部所需固件。
节点连接通过简单的 RS232 UART 实现,并使用 AT 命令发送帧和配置无线电参数。 开发套件包括 AX−SIGFOX 全功能模块,内含网络使用订阅功能。
收发器采用 5 mm x 7 mm QFN40 封装,提供 10 个 GPIO 引脚,其中四个引脚带有可选电压测量功能。 这些引脚或是 1 V 或 10 V 范围的差分输入,或是 1 V 范围的单端输入,两种均为 10 位分辨率。 其中两个引脚带有可选三角积分型 DAC 输出功能,以便连接到节点中的传感器。 其中三个 GPIO 引脚也可选择作为 SPI 主接口,用于控制节点中的其他设备。

图 4: AX-SIGFOX 收发器提供灵活的 GPIO 引脚,可用于 SIGFOX 网络上的无线传感器节点。
SIGFOX 网络的优点之一在于可在云端管理数据,公司已与 Microsoft 合作,以便连接到 Azure 云存储和数据管理工具,实现大型数据部署。
Weightless-P 是一种更新的协议,刚刚获得 ETSI 欧洲标准组织认证,物联网开发人员可用其创建自己的 LPWAN 网络。 协议可在所有次 GHz 频带上运行,但也可用于调节式蜂窝频带。 它使用 12.5 kHz 通道且通道分配灵活,以允许在大型部署中重复使用频率,同时 200 bps 到 100 kbps 数据速率可最大化网络容量。 该协议使用时间同步的基站以实现无线电资源调度和利用。
名为 Weightless Ignition Pack 的开发套件提供了开箱即用的 Weightless-P 网络连接功能。 该套件包括 Weightless-P 基站、终端设备模块、天线、基站的完整 Weightless-P 协议栈、终端设备和主机,以及全部所需线缆。 套件开箱即可部署一个 Weightless-P 物联网网络。
总结
LPWAN 网络是一个用于实现物联网的日渐流行的方法。 在节点中使用次 GHz 无线电频带和扩频协议以实现低功耗,可大大延长电池寿命,从而降低成本。 同样的次 GHz 频带还可实现更长距离,仅需几个基站,就可在多个城镇之间应用数千个节点。 LoRaWAN、SIGFOX 或 Weightless-P 网络为开发人员提供了多种实施选择,从创建专用网络到在商业网络上争取时间并连接到云分析。
-
超低功耗
+关注
关注
5文章
229浏览量
19001 -
SIGFOX
+关注
关注
4文章
47浏览量
63031 -
LPWAN
+关注
关注
4文章
211浏览量
33051
发布评论请先 登录
映翰通发布全新 LoRaWAN 网关 EC312,构建安全可信、灵活可靠、深度智能的 LoRaWAN 边缘网络
LuatOS AGPS 辅助定位开发实战教程
【直播预告】10月29日 周三 晚8点 |睿擎网络开发实战:从配置到应用,掌握工业级网络开发精髓!| 直播预告
【直播预告】周三晚8点|睿擎网络开发实战:从配置到应用,掌握工业级网络开发精髓!| 直播预告
【干货】一文带你读懂什么是 LoRaWAN 网络架构
科普|LoRa(Long Range)设备和LoRaWAN设备区别
【教程】LoRaWAN节点模块如何接入LoRaWAN网络并实现通信?
LoRaWAN技术的特点和应用领域
安信可Ra-08H-P模组入网LoRaWAN网络的应用
安信可Ra-08H-P模组接入LoRaWAN网络的应用实践
LoRaWAN的特点和应用场景
安信可大功率LoRaWAN模组Ra-08H-P介绍
LoRaWAN网络在智慧水务中的创新解决方案

LoRaWAN、SIGFOX及Weightless-P 网络开发实战
评论